Nissan Maxima: Fusibles
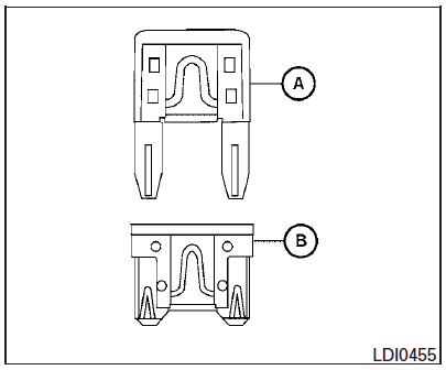
Votre véhicule utilise deux types de fusibles. Les boîtes à fusibles du compartiment moteur utilisent des fusibles de type A . La boîte à fusibles de l'habitacle utilise des fusibles de type B .
Des fusibles de rechange de type A sont fournis d'origine. Ils se trouvent dans la boîte à fusibles de l'habitacle.
Les fusibles de type A peuvent être utilisés dans les boîtes à fusibles du compartiment moteur et de l'habitacle.

Lorsqu'un fusible de type A est utilisé en remplacement d'un fusible de type B, il ne sera pas logé aussi profondément que ceux de type B (voir l'illustration). Ce fusible assurera la protection du circuit de même manière. Vérifiez que le fusible est bien enfoncé dans la boîte à fusibles.
Les fusibles de type B ne conviennent pas pour les boîtes à fusibles du compartiment moteur.
Utilisez exclusivement des fusibles de type A dans les boîtes à fusibles du compartiment moteur.
Freins
Compartiment moteurCommande des essuie-glace et du lave-glace
Manette des essuie-glaces
Balayage simple
Si vous ne voulez essuyer que brièvement le pare-brise, poussez la
manette
dans la position auto-rabattue 4 " . L'essuie-glace balaie plus
rapidement
si vous maintenez la manette plus d'1 seconde dans sa position inférieure ...
Système RDS
Utilisation de la
fonction RDS (radio
data system) sur
bande FM
La plupart des stations de radio FM
utilisent le système RDS dont est
équipé votre autoradio.
Le système RDS permet à ces stations
de transmettre des données
non sonores en plus de la diffusion
de leur programme. ...
Commande Confort pour les vitres
Pendant le verrouillage du véhicule, si vous maintenez le doigt sur le
capteur
1 " pendant plus de 2 secondes, les fenêtres restées ouvertes et le toit
coulissant panoramique se ferment. La procédure de fermeture s'interrompt si
vous relâchez le capteur 1 . Si vous touchez de nou ...